时间:2025-03-13来源:爱酱手游网
苹果公司近日在专利领域取得了新的突破,一项针对其未来Vision系列头显(HMD)设备的混合视线追踪系统获得批准。这一创新技术由科技媒体patentlyapple在3月11日的报道中首次披露。
该视线追踪系统巧妙地融合了超声波与成像数据,旨在实现对用户视线方向的精确追踪,并显著提升用户身份验证的可靠性。这一技术革新有望为增强现实(AR)和虚拟现实(VR)设备带来前所未有的交互流畅性。

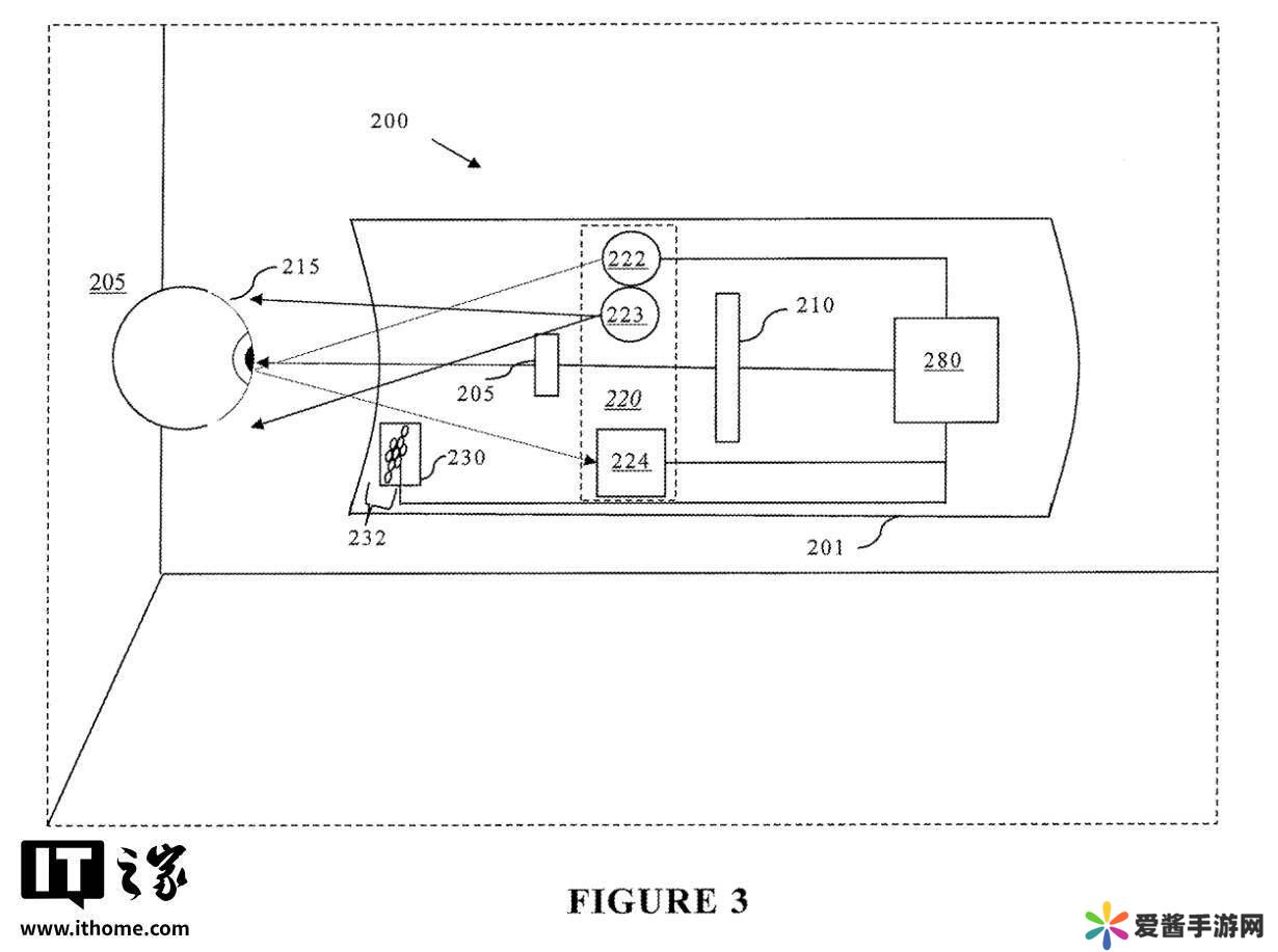
据了解,该系统的工作原理是结合光基测量与超声波测量技术,共同获取眼睛的三维坐标信息。光基测量因其对环境因素如温度、气压和气流的敏感性较低而备受青睐,而超声波测量则对杂散光具有较强的抗干扰能力。这两种技术的结合,使得系统能够有效应对各种复杂环境干扰。
在具体操作层面,系统首先利用光基测量技术捕捉眼睛的第一属性,并通过深度信息确定眼睛在三维坐标系中的初始位置。随后,超声波测量技术被用来获取眼睛的第二属性,这些信息与预先建立的三维眼部模型相结合,进一步精确眼睛的位置。最终,系统基于这两组位置信息,计算出用户在三维坐标系中的准确视线方向。

除了视线追踪的精确性,该系统还结合了超声波生物特征与成像生物特征,从而大幅提升了用户身份验证的准确性和安全性。这意味着,当用户佩戴Vision系列头显设备时,系统将能够更可靠地识别用户身份,确保设备的访问权限仅授予合法用户。

这一创新技术不仅将广泛应用于苹果未来的Vision系列头显设备中,还有望在整个AR/VR领域引发一场革命。通过提供更加自然、精准的交互体验,这项技术有望推动AR/VR设备在娱乐、教育、医疗等多个领域的广泛应用。
网发此文仅为传递信息,不代表认同其观点或证实其描述。同时文中图片应用自网络,如有侵权请联系删除。