时间:2025-06-18来源:爱酱手游网
华为技术有限公司近期在国家知识产权局公布了一项创新专利,该专利聚焦于“光学镜头、摄像头模组及电子设备”领域,旨在解决当前电子设备中摄像头模组占用空间大,导致设备厚度增加的问题。

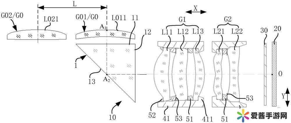
据专利摘要介绍,该创新设计包含前透镜组、第一转折元件、第一后透镜组以及第二后透镜组等多个部分。其中,前透镜组被细分为第一前透镜组和第二前透镜组,这一设计为实现镜头的多功能性奠定了基础。
专利中的核心亮点在于第一转折元件的可变位置功能。当第一转折元件位于第一位置时,它会将第一前透镜组的出射光束反射至第一后透镜组,此时光学镜头展现出第一有效焦距;而当第一转折元件移动至第二位置时,它则负责将第二前透镜组的出射光束反射至第一后透镜组,此时的光学镜头则具有更大的第二有效焦距。这一设计不仅提高了镜头的灵活性,还有效优化了空间利用。

值得注意的是,这一专利技术的公布与近期网络上关于华为新机的讨论不谋而合。知名数码博主@数码闲聊站曾透露,华为即将推出的Pura80 Ultra手机上标注有“SWITCHABLE TELE LENS”(可切换长焦镜头)的字样,且该项目代号为Hedy Lamarr,是首个采用一底双长焦潜望镜设计的机型。
结合这些信息,可以合理推测,华为此次公布的“一底双长焦”新专利极有可能被应用于即将面世的Pura80 Ultra手机上。这一设计不仅将为用户带来更加出色的摄影体验,也标志着华为在智能手机摄像头技术上的又一次重要突破。

网发此文仅为传递信息,不代表认同其观点或证实其描述。同时文中图片应用自网络,如有侵权请联系删除。