时间:2025-05-07来源:爱酱手游网
本站 5 月 6 日消息,苹果公司近期获得了一项名为“具有扩展输入输出能力的电子设备”的专利,揭示了其正在研发的新妙控鼠标的潜在功能。这款鼠标将能够检测用户在鼠标附近空间中做出的手势,而不仅仅是在鼠标表面的触摸操作。

2009 年,苹果首次推出妙控鼠标时,其多点触控手势功能让人眼前一亮。此后,该产品虽有重新设计,但关于鼠标新增手势功能的传闻此前并未出现。然而,这项新专利表明,苹果正在探索一种全新的交互方式,即通过鼠标侧面的传感器阵列,捕捉用户手指在鼠标侧边区域的位置信息,从而实现三维手势识别。
根据专利描述,这些传感器可能是基于发光二极管或激光光源的光学传感器,也可能是用于检测用户手指输入的电容传感器。用户可以通过在鼠标附近空中移动手指或手掌来执行手势操作,这与苹果 Vision Pro 中的手势识别功能类似。此外,专利还提到,手势识别可能通过一个或多个可见光摄像头和 / 或红外摄像头实现。
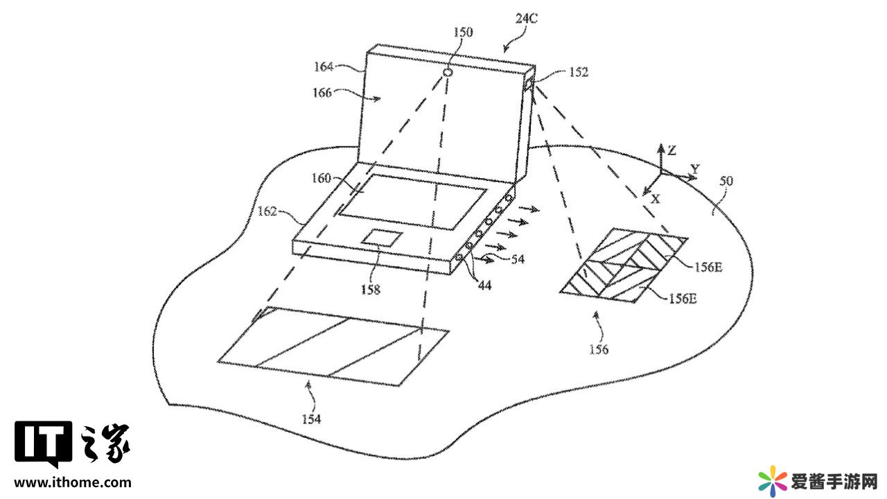
除了摄像头,专利还涉及投影仪的应用。鼠标或其他设备可以配备投影仪,将图像投射到桌面或其他表面上,这些图像可以包含虚拟按键或其他可选择的视觉元素,用户可以通过手指输入进行选择。例如,鼠标可以投射出包含可选择区域的图像,如文件夹图标、字母数字键、菜单选项等,用户只需轻触这些投影图像,鼠标内置的摄像头就能识别位置并判断用户意图。
本站注意到,这种技术的应用场景不仅限于鼠标。专利中还列举了多种可能应用该技术的设备,包括触控板、笔记本电脑、内置计算机的显示器、平板电脑、手机、媒体播放器、智能手表、挂件、耳机、头戴式耳机等,甚至包括嵌入在桌子、椅子、书桌等家具中的电子设备。这意味着用户可以通过在鼠标旁敲击手指来启动快捷方式,或者将咖啡杯放在桌面上就能启动 Mac,甚至在桌面上展开手指就能实现设备上的缩放操作。

不过,苹果似乎认为这种鼠标或桌面设备更多是作为现有输入方式的补充,而非完全替代。专利指出,这些设备可以确定用户手指或其他身体部位在空中移动的位置,这种额外的输入方式可以扩展输入能力,补充通过按钮、触摸传感器、指针移动传感器等收集的信息。用户可以通过这种方式操作视觉对象(如图标)、向系统输入文本、进行菜单选择等。

尽管专利展示了这一技术可能的广泛应用,但并未具体说明用户为何需要这些功能。正如所有专利一样,获得授权并不意味着该技术一定会被应用到未来的产品中。
网发此文仅为传递信息,不代表认同其观点或证实其描述。同时文中图片应用自网络,如有侵权请联系删除。